Thursday, April 3, 2025

Galaxy Ring could use a novel way to charge

Galaxy Ring could use a novel way to charge

A recent Samsung patent application reveals a few novel ideas the company is exploring to intertwine Galaxy phones and the Galaxy Ring and expand the wearable's charging capabilities.

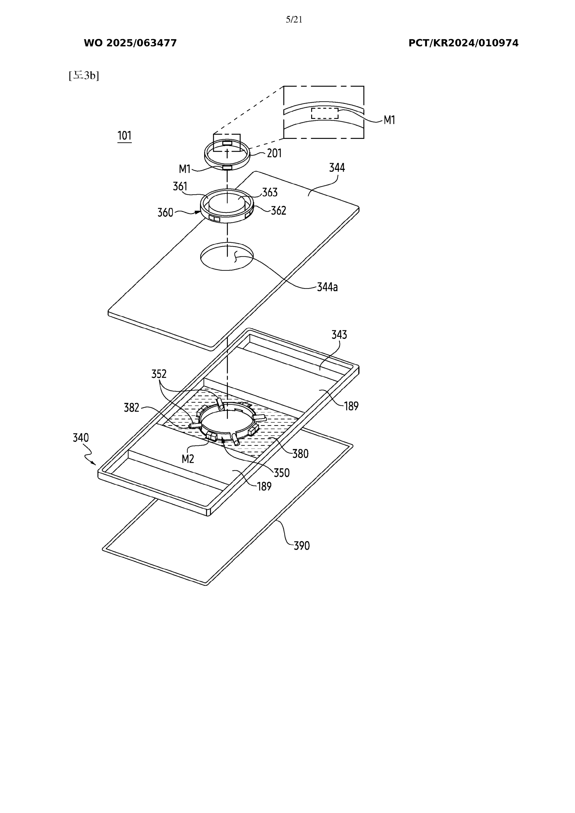
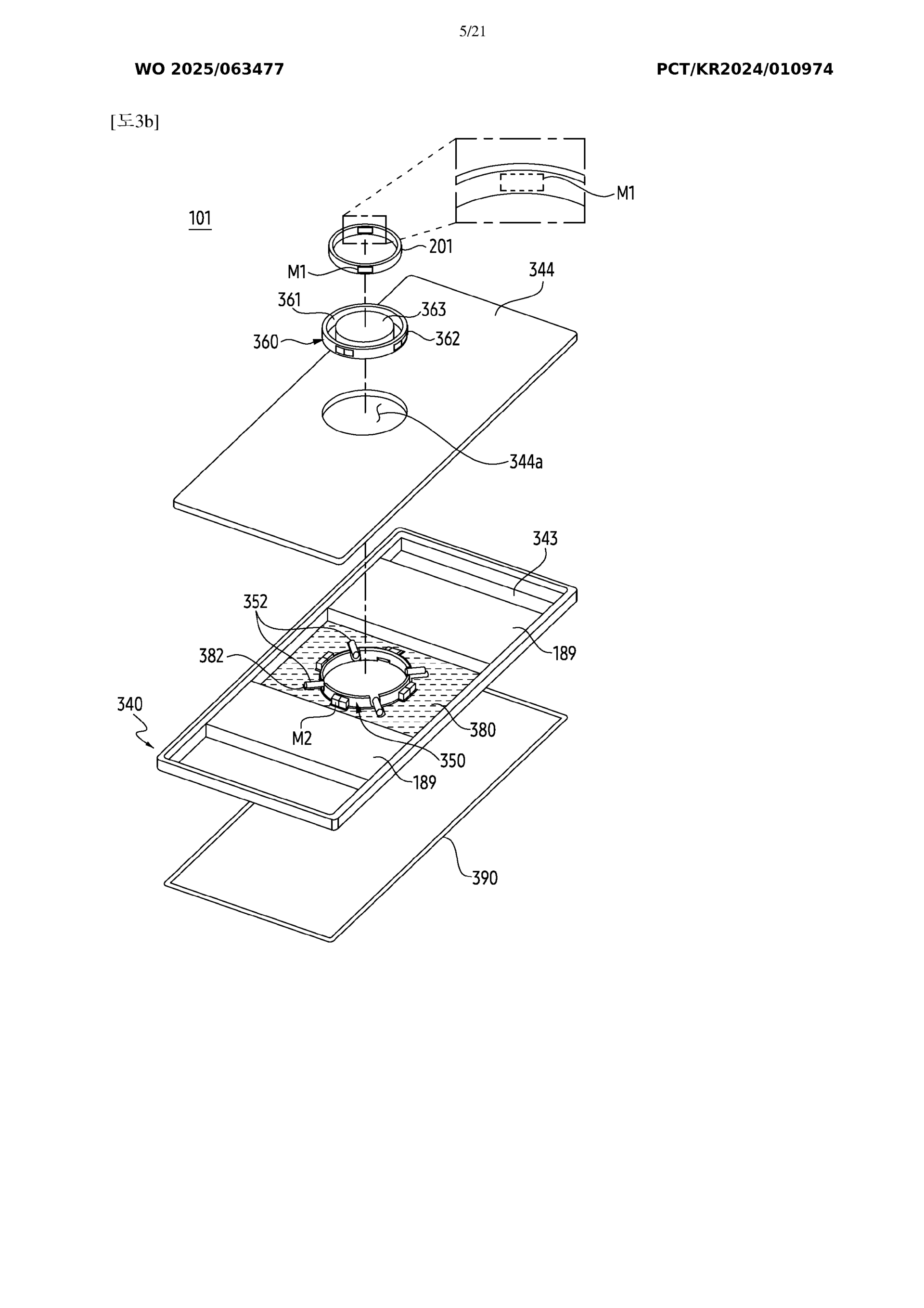
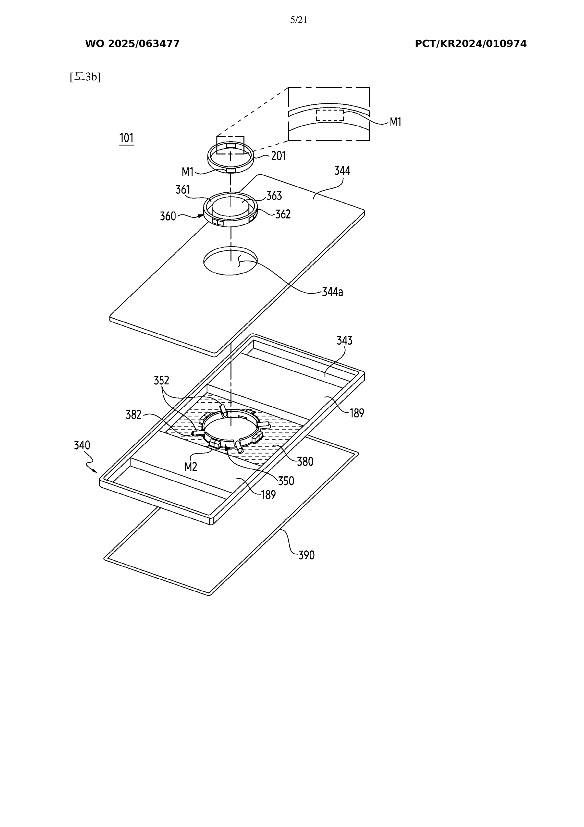
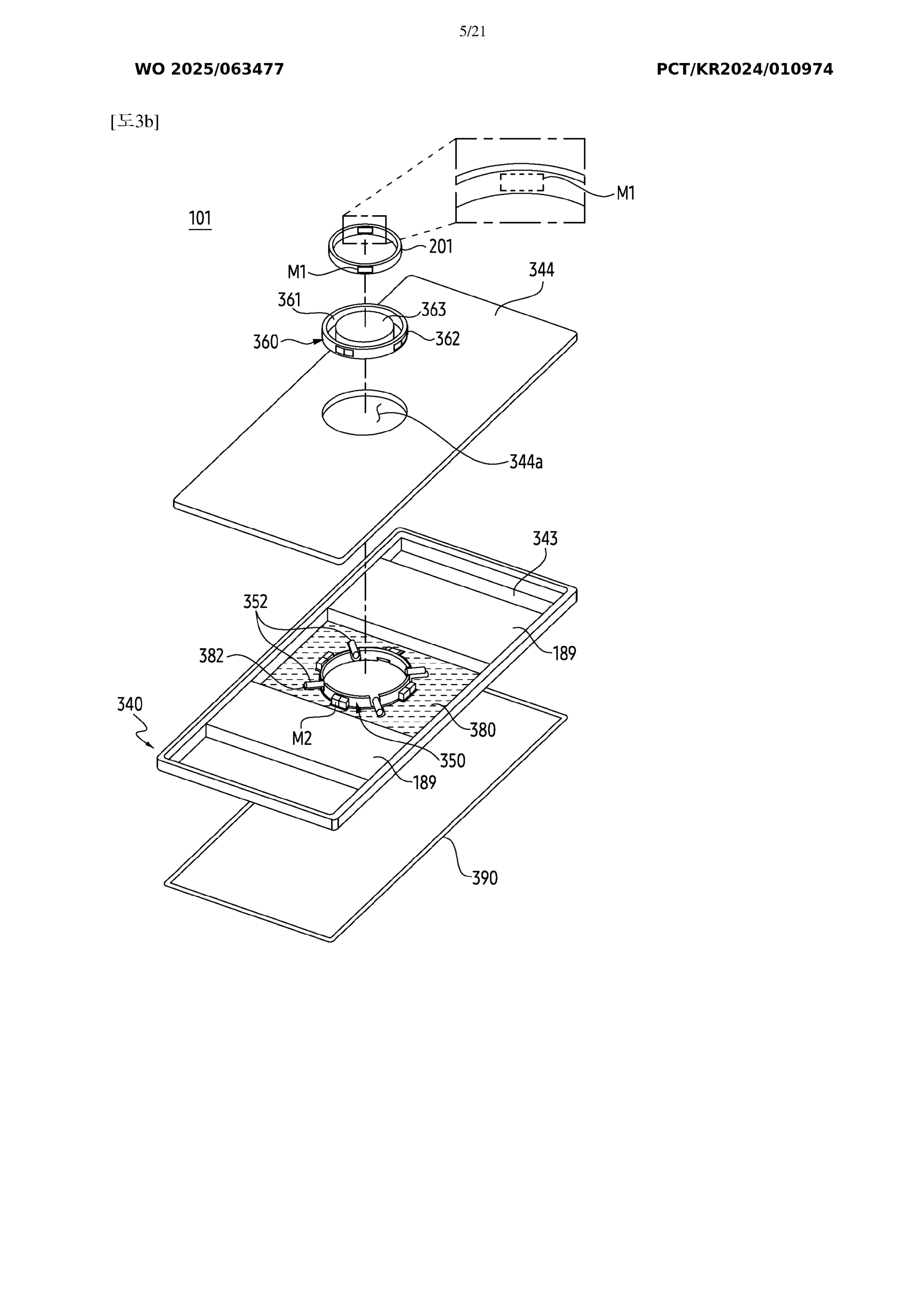
WIPO recently published a Samsung patent describing a method of charging the Galaxy Ring by placing it inside a secure slot on the back of a Galaxy phone. When charging through this method, the Galaxy Ring may also transmit health and fitness data to the phone.

The patent application is a bit vague and doesn't clearly explain whether the charging slot is built into a Galaxy phone or a special Galaxy phone case. Nevertheless, the enclosed diagrams describe rigid and foldable phones (or cases) that could recharge the Galaxy Ring directly.

The patent claims that “various other embodiments may be possible,” so it looks more like Samsung is exploring the concept, rather than a final product, through this patent. Still, it's an interesting idea.

galaxy-ring-phone-charger-2
galaxy-ring-phone-charger-3
galaxy-ring-phone-charger-7
galaxy-ring-phone-charger-8

If you're unfamiliar with the Galaxy Ring, here's how it works. The smart ring can only be charged through its special charging case. The charging case itself can be refilled via USB-C or wireless charging. Likewise, the Galaxy Ring charging case can be placed on the back of a Galaxy phone that supports Wireless PowerShare and be charged using this clever Samsung technology.

The Galaxy Ring is now available in more regions

Buy Now

On the other hand, the Galaxy Ring, on its own, cannot be charged via USB-C or wirelessly. It is entirely dependent on its charging case. The design Samsung describes in its patent application would make it possible for the Galaxy Ring to be charged through other means — specifically, by slotting it into a special cutout on the back of Galaxy phones or cases — and lose its dependency on the charging case.

A cool but impractical concept?

There may be some design issues not covered by the patent application and its diagrams. For one, we're guessing that a phone case fitted with a Galaxy Ring charging slot would be very thick or have a thick hump.

Similarly, a Galaxy phone with a built-in Galaxy Ring charging slot could be chunky, or its internal components would have to be rearranged to make room for such a mechanism.

Finally, this novel technology and design could increase costs, which wouldn't sit well with Galaxy phone users who aren't interested in wearing the Galaxy Ring. They'd pay extra for something they have no intention to use.

All things considered, this looks like a nice idea on paper, but it might not be a realistic one that Samsung will pursue further. The company may have applied for a patent to claim the technology, but who knows what the future holds? It's a very interesting concept either way.

The post Galaxy Ring could use a novel way to charge appeared first on SamMobile.

Post a Comment

Whatsapp Button works on Mobile Device only

Start typing and press Enter to search