Wednesday, April 2, 2025

Samsung toying with the idea of a quad-foldable Galaxy phone

Samsung toying with the idea of a quad-foldable Galaxy phone

Samsung is the biggest brand in the foldable smartphone market. The company started with a book-style foldable phone, then expanded to a clamshell foldable phone, and recently, the tech giant hinted that it may launch a tri-fold dual-hinge phone. Well, as it turns out, Samsung is also exploring the idea of a quad-fold triple-hinge device.

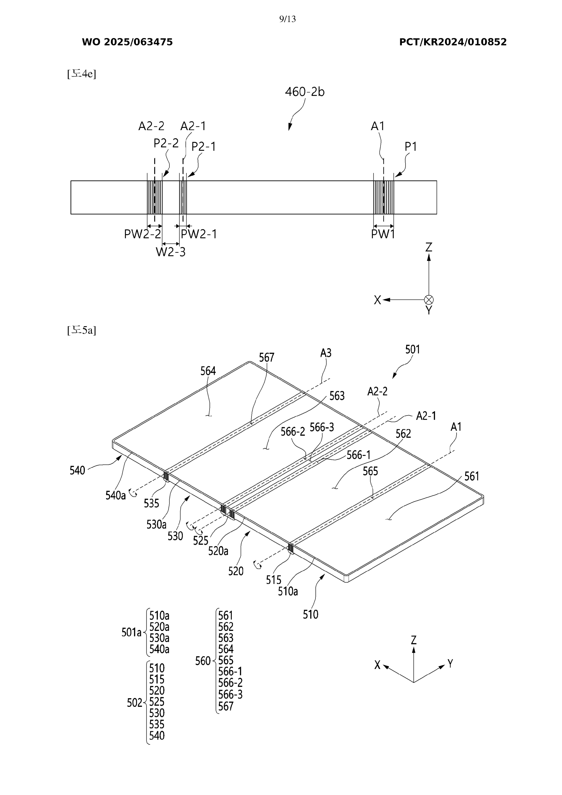
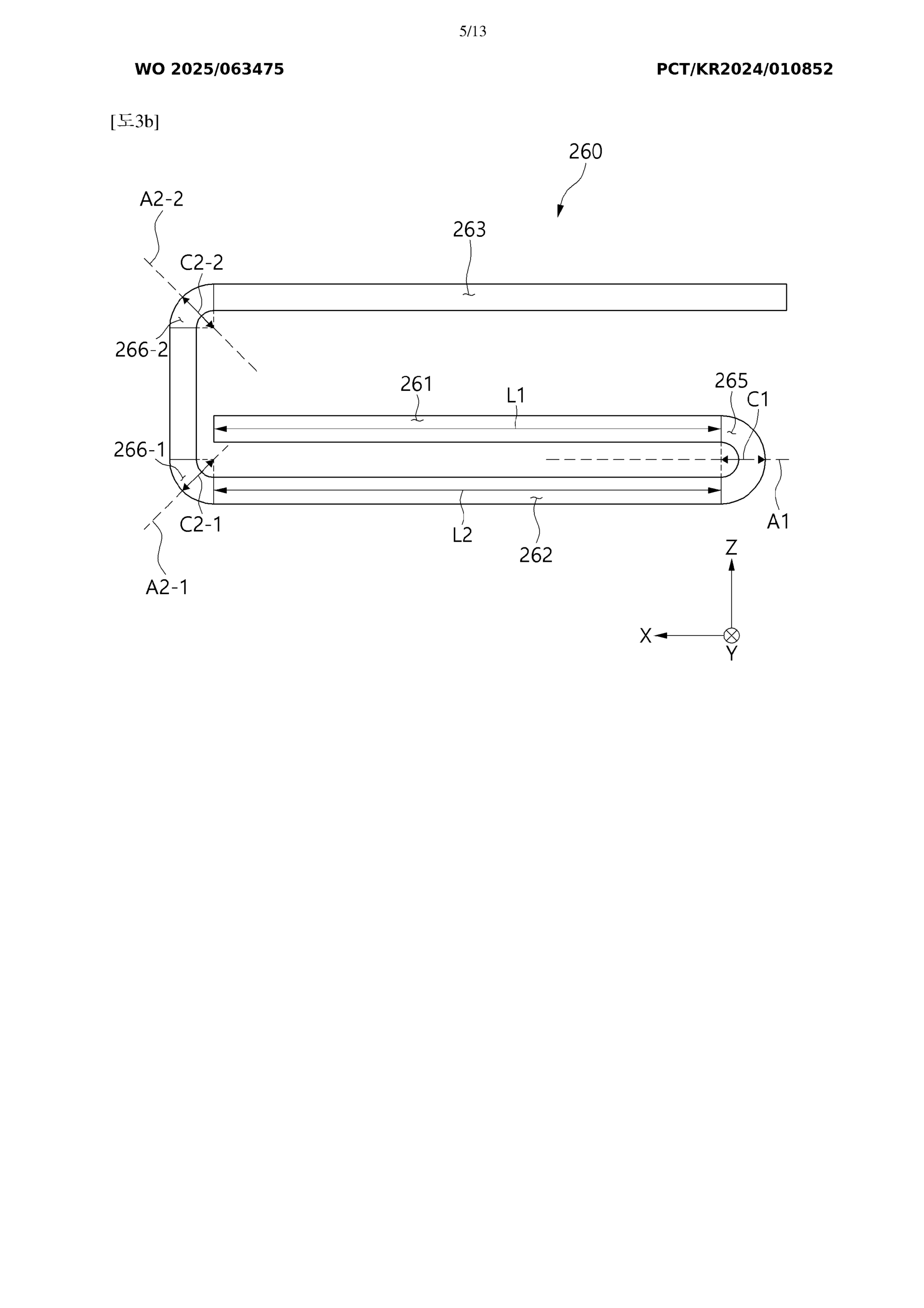
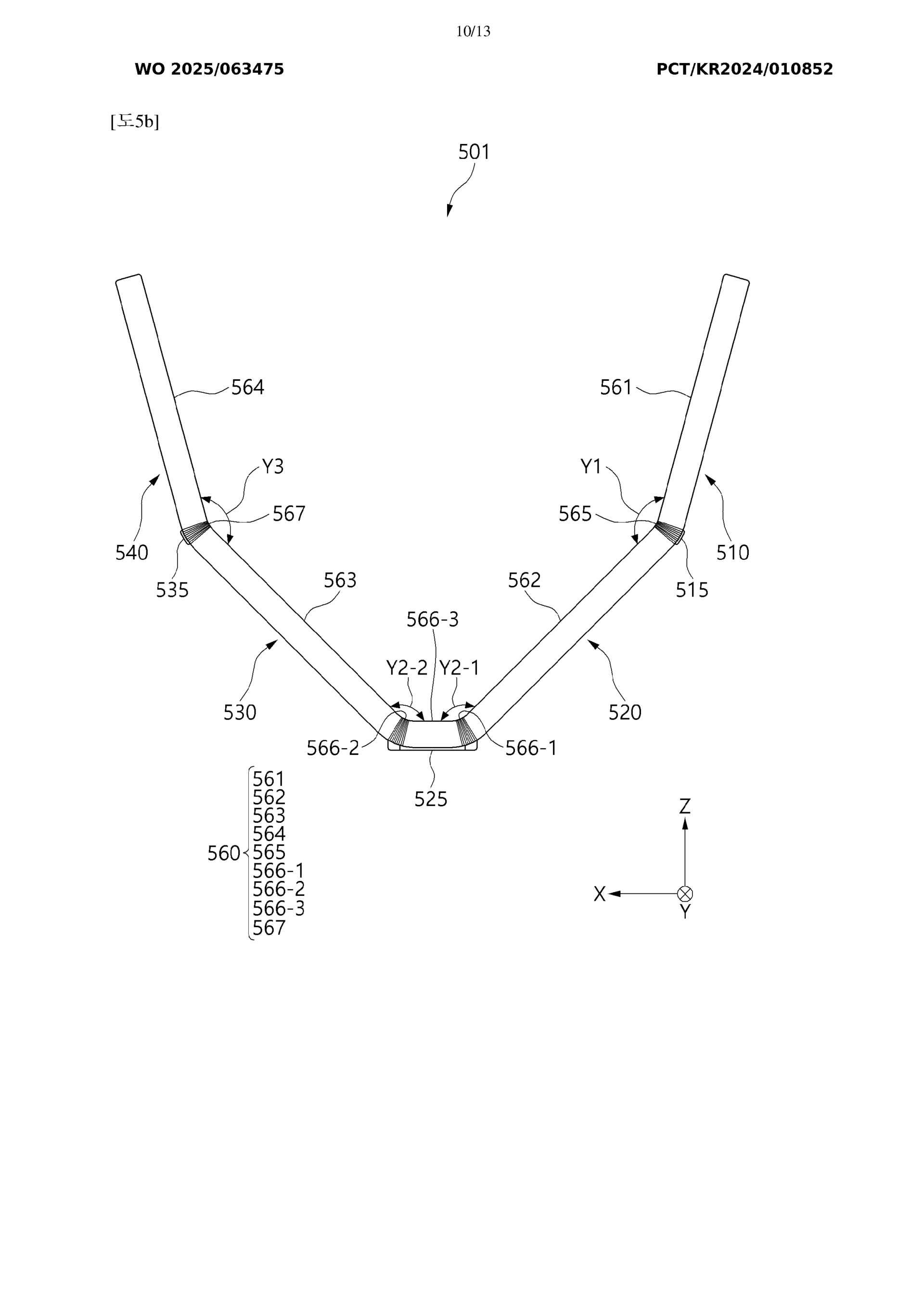
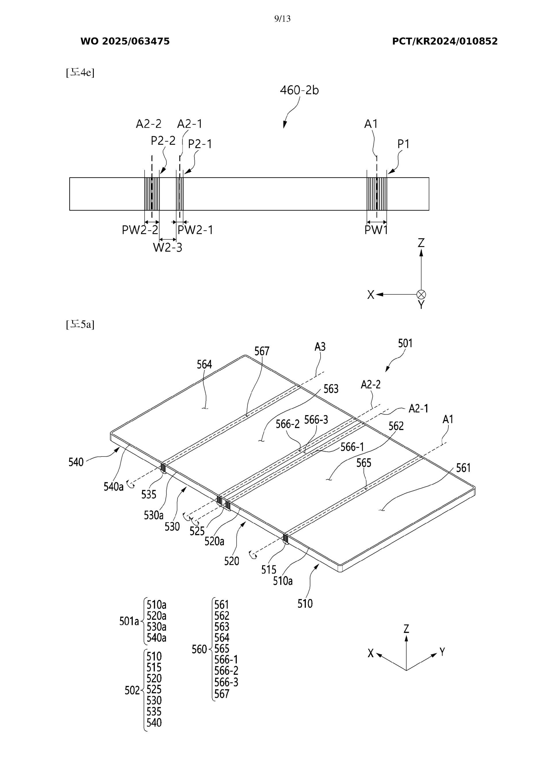
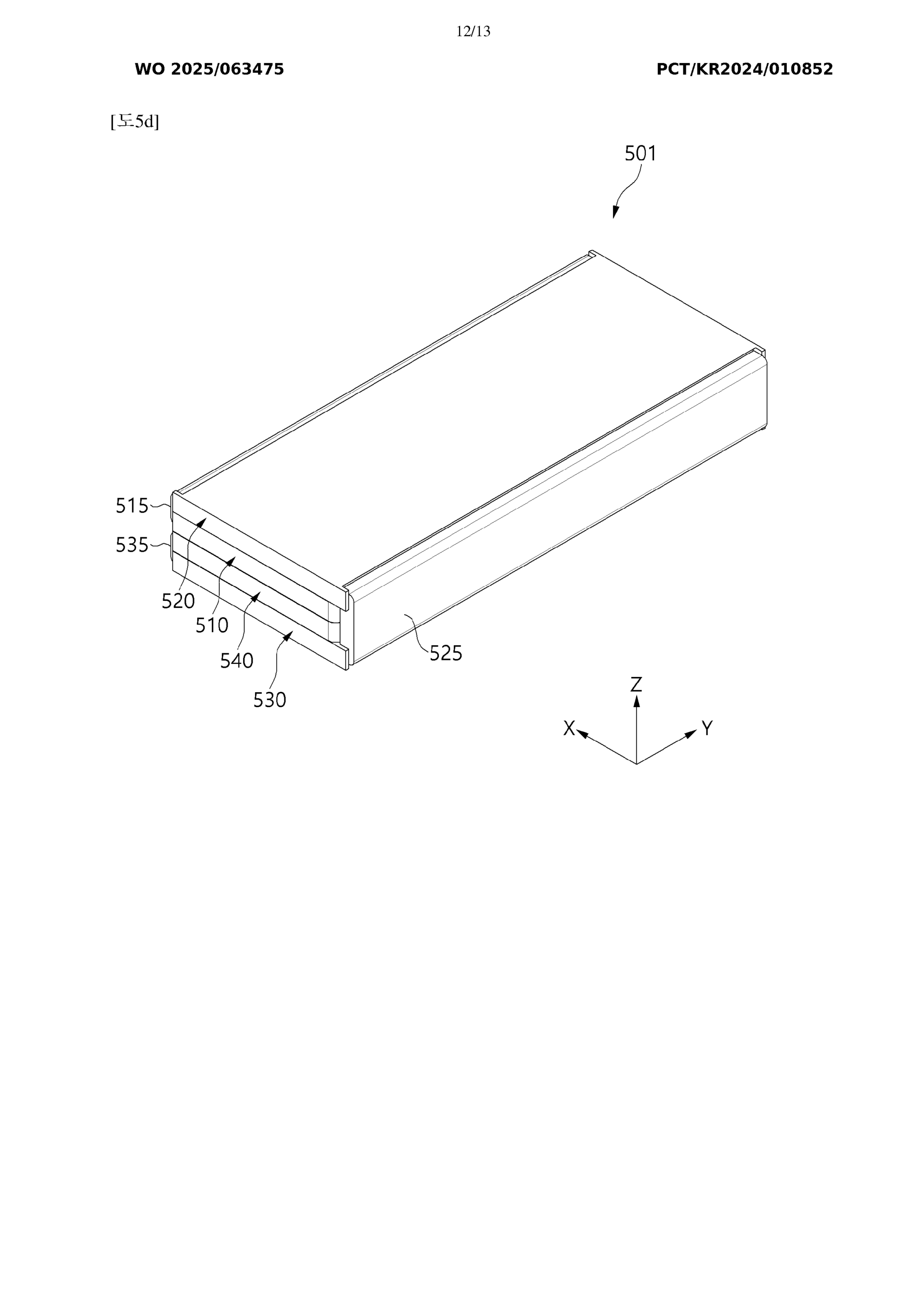
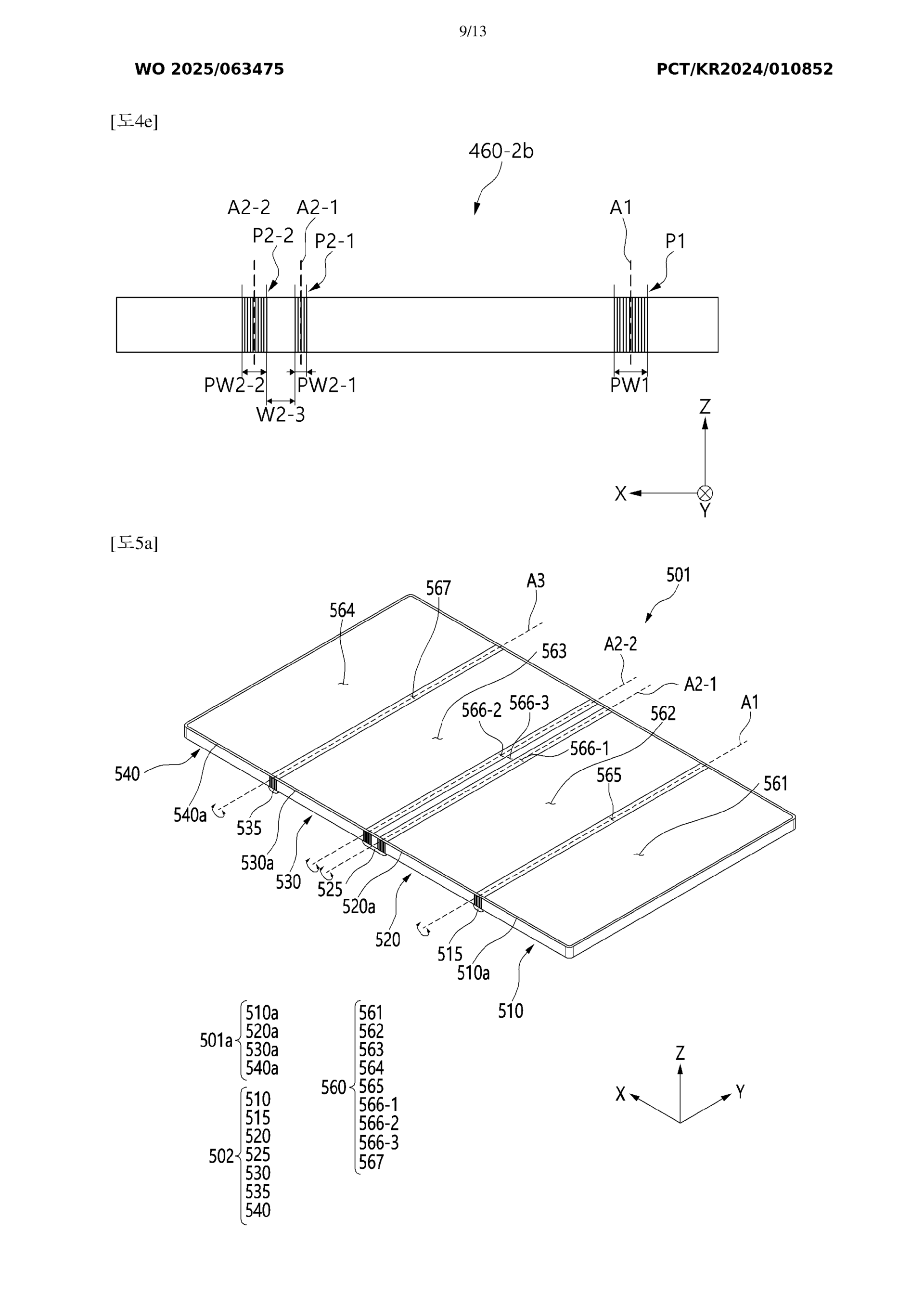
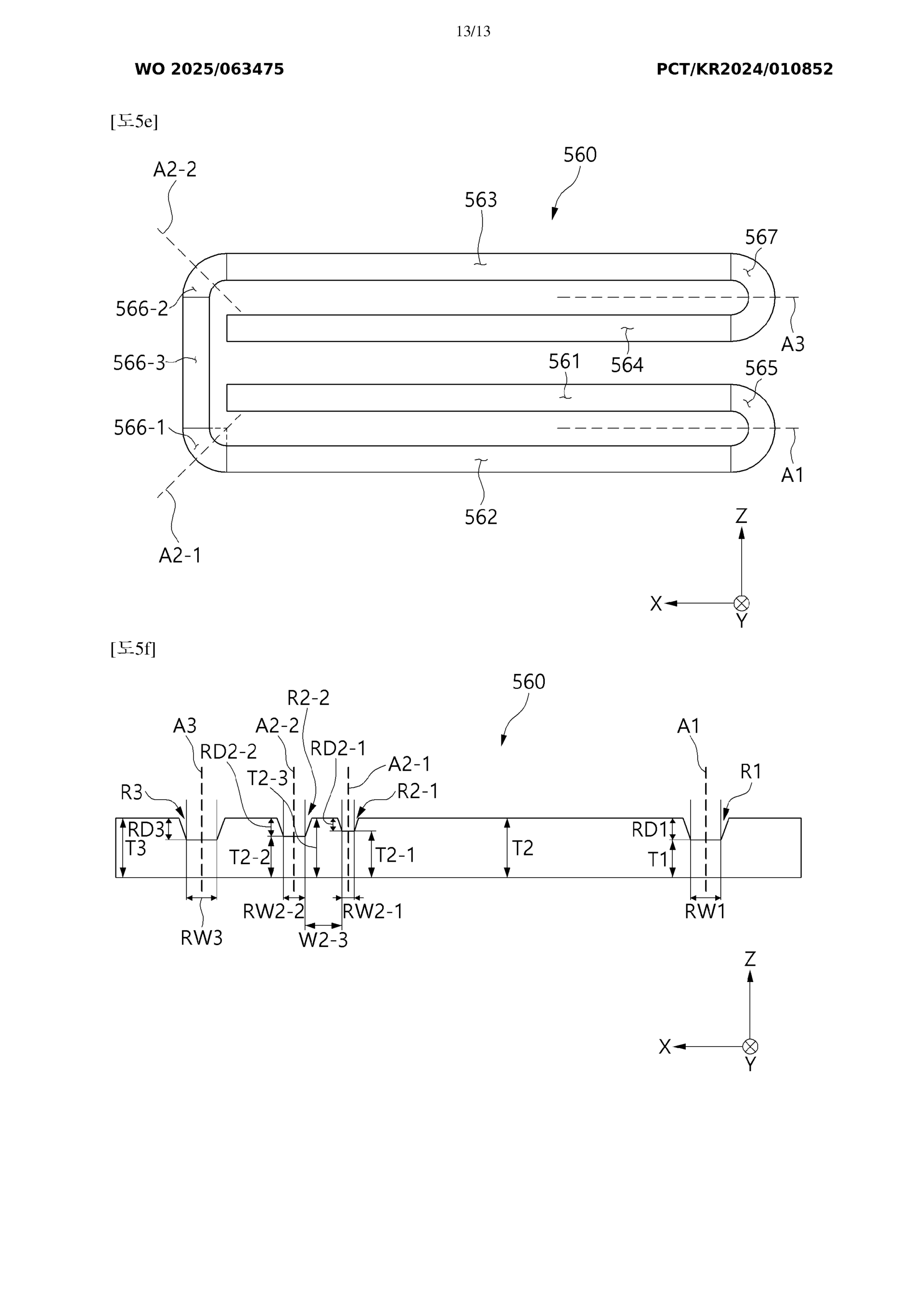
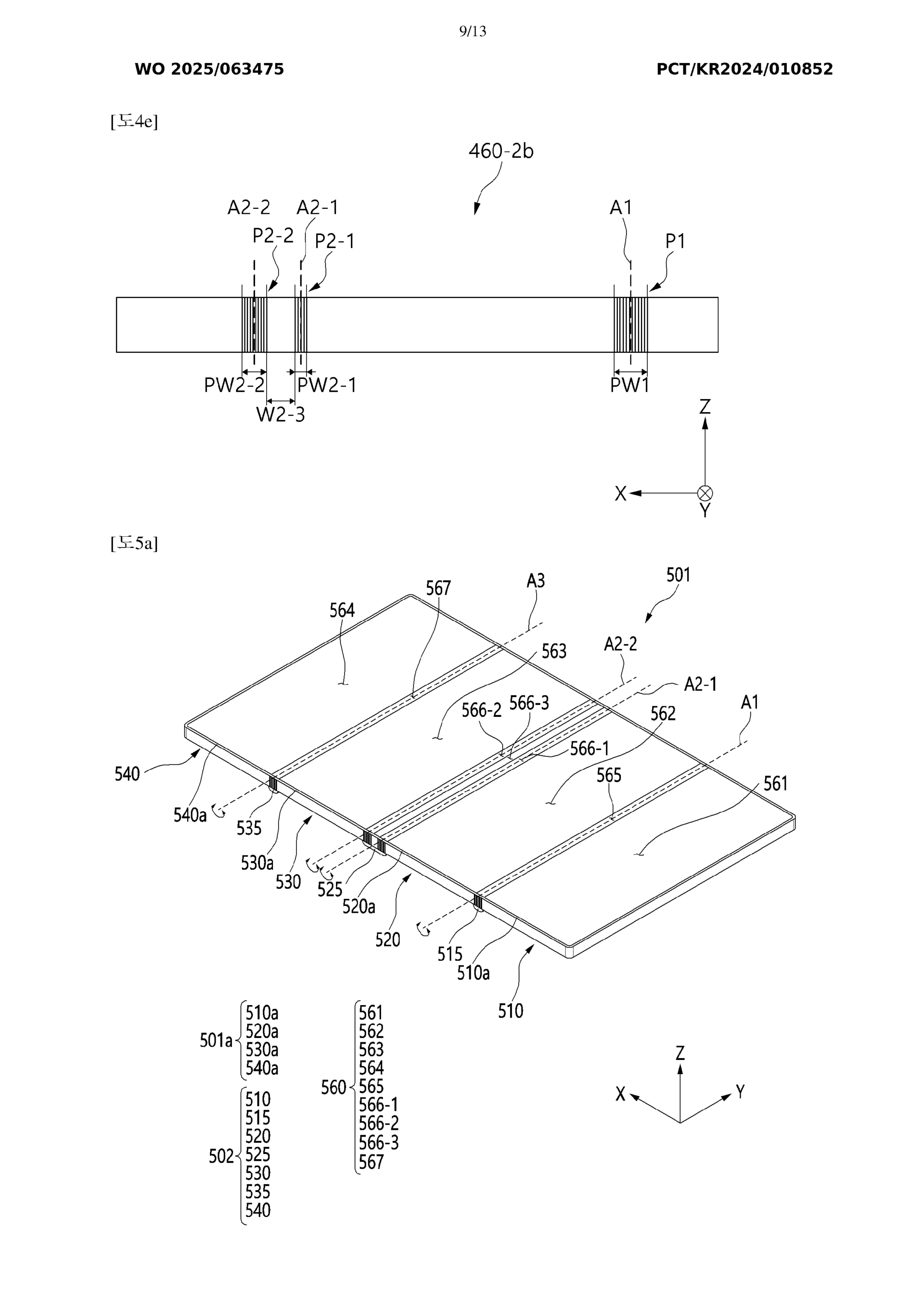
Samsung has filed a patent for ‘ELECTRONIC DEVICE INCLUDING BENDABLE DISPLAY.‘ In this patent, among other things, the South Korean tech giant talks about and demonstrates a device that has four panels connected to each other horizontally using three hinges and a single foldable display over them. You can check out the drawing below.

samsung quad-foldable phone patent (01)
samsung quad-foldable phone patent (02)
samsung quad-foldable phone patent (03)
samsung quad-foldable phone patent (04)
samsung quad-foldable phone patent (05)

Based on these drawings, it looks like Samsung is working on a quad-foldable smartphone. This seems to be the brand’s initial idea for the device. However, the company could modify it at a later date. It is also possible that Samsung has no intentions of materialising this type of device at the moment and has patented it just to secure its idea and use it at a later date when the market/tech is ready for such a type of device.

Samsung's patent also talks about a tri-fold phone

The patent also showcases a triple-fold smartphone (three panels connected to each other horizontally using two hinges with a display over them that can fold). This one seems more complete as it has a USB Type-C port at the bottom of the third panel and a triple-camera setup at the rear. Could this be the tri-fold phone Samsung teased at the Galaxy Unpacked 2025 event? Well, it is hard to confirm anything at the moment.

samsung triple-foldable phone patent (01)
samsung triple-foldable phone patent (02)
samsung triple-foldable phone patent (03)
samsung triple-foldable phone patent (04)
samsung triple-foldable phone patent (05)

Samsung’s major rival in the smartphone market, Apple, has still not launched a foldable iPhone yet, and the South Korean tech giant is already advancing towards tri-fold and quad-fold devices, putting it much ahead of the Cupertino-based tech giant in the foldable smartphone market. While these devices may not arrive anytime soon, if you are planning to get a foldable phone, you should take a look at the Galaxy Z Fold 6.

An All-Rounder

The Best Foldable Phone Overall You Can Buy Right Now

Buy Samsung Galaxy Z Fold 6

The post Samsung toying with the idea of a quad-foldable Galaxy phone appeared first on SamMobile.

Post a Comment

Whatsapp Button works on Mobile Device only

Start typing and press Enter to search